Volkswagen Tiguan Reparaturanleitung: Schließzylinder
Vorsicht!
Zum Ab- und Anklemmen der Batterie muss die im Reparaturleitfaden
beschriebene Vorgehensweise eingehalten werden.
Schließzylinder aus- und einbauen
Vorsicht!
- Das Lenkschloss kann zerstört werden.
- Wird das Lenkschloss ohne Schließzylinder betätigt, blockiert es und
muss ersetzt werden.
- Das Lenkschloss darf ohne Schließzylinder nicht betätigt werden.
ACHTUNG!
Vor Arbeiten an der elektrischen Anlage und dem Ausbau des Lenkrades müssen
folgende Bedingungen erfüllt werden:
Die/der Mechaniker(in) muss sich elektrostatisch entladen. Dieses wird durch
das Berühren von geerdeten Metallteilen, wie zum Beispiel Wasserleitungen,
Heizungsrohren, Metallträgern oder einer Hebebühne, erreicht.
Wenn dieser Hinweis nicht beachtet wird, kann es zum Ausfall von
Steuergeräten im späteren Betrieb kommen!
- Masseband von der Batterie abschrauben
→ Elektrische Anlage;
- Die Räder müssen sich in Geradeausstellung befinden.
Wenn Sie diese Hinweise nicht beachten, kann es zum Ausfall des
Airbag-Systems im späteren Betrieb kommen!
Vorsicht!
Wenn das Kreuzgelenk vom Lenkgetriebe getrennt ist oder der Lenkwinkelgeber
-G85- ausgebaut ist, dürfen folgende Arbeiten nicht durchgeführt werden:
- Batterie anklemmen
- Zündung einschalten
- Lenkgetriebe drehen
- Lenksäule drehen
Diese Punkte müssen unbedingt beachtet werden, da dies sonst zu irreparablen
Schäden führen kann.
Ausbauen:
- Batterie abklemmen.
- Lenksäulenverkleidung ausbauen
→ Karosserie-Montagearbeiten Innen;
Hinweis
- Die Abbildung zeigt aus Gründen der Übersichtlichkeit keine
Lenkstockhebel, Wickelfeder oder Lenkrad. Die Bauteile müssen zum Ausbau des
Schließzylinders nicht ausgebaut werden.
- Die Lesespule für Wegfahrsicherung ist am Schließzylinder befestigt und
kann nicht einzeln gewechselt werden.
- Der Zündschlüssel ist in den folgenden Abbildungen aus Gründen der
Übersichtlichkeit nicht dargestellt.
- Die Bohrung kann gegenüber der Abbildung um 180º verdreht angeordnet
sein. Dieses beeinflusst aber nicht Art und Weise des Aus- und Einbaus.

- Den Zündschlüssel in den Schließzylinder stecken und in die Position
"Fahrt" drehen.
Schlüsselstellungen des Schließzylinders:
- Position "Halt"
- Position "Fahrt"
- Position "Start"
Hinweis
Aus Gründen der Übersichtlichkeit zeigt die folgende Abbildung einen
ausgebauten Schließzylinder ohne Zündschlüssel.
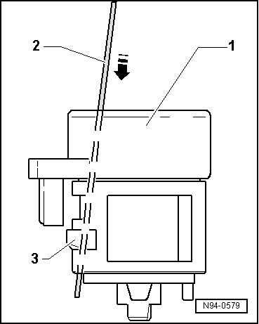
- Einen Stahldraht (ca. Ø 1,2 mm) in die Bohrung
-Pfeil- neben dem Zündschlüssel einstecken.
- Mit dem Stahldraht -2- den Sicherungshebel
-3- des Schließzylinders
-1- entriegeln -Pfeil-.
- Schließzylinder -1- aus dem
Lenkschlossgehäuse herausziehen.

- Den Stecker -Pfeil- an der Lesespule der
Wegfahrsicherung abziehen.

Einbauen:
Hinweis
- Der Zündschlüssel ist in der folgenden Abbildung aus Gründen der
Übersichtlichkeit nicht dargestellt.
- Den Zündschlüssel in den Schließzylinder -1-
stecken und in die Position "Fahrt" drehen.
- Mit dem Stahldraht -2- den Sicherungshebel
-3- des Schließzylinders
-1- entriegeln -Pfeil-.
- Den Stecker an der Lesespule der Wegfahrsicherung aufstecken.
- Den Schließzylinder -1- in das
Lenkschlossgehäuse einsetzen.

Hinweis
Der Anschluss für die Lesespule der Wegfahrsicherung muss in die Führung am
Lenkschlossgehäuse eingesetzt werden.
- Den Stahldraht -2- aus dem Schließzylinder
-1- herausziehen und die sichere Verrastung des
Schließzylinders im Lenkschlossgehäuse prüfen.
- Alle Bauteile sinngemäß in umgekehrter Reihenfolge wie der einbauen.
Zündanlassschalter
Vorsicht!
Zum Ab- und Anklemmen der Batterie muss die im Reparaturleitfaden
beschriebene Vorgehensweise eingehalten werden.
Zündanlassschalter aus- und einbauen
Ausbauen:
- Lenksäulenverkleidung ausbauen
→ Karosserie-Montagearbeiten Innen;
- Den Stecker -2- vom Zündanlassschalter
-1- entriegeln und abziehen.
- Stecken Sie den Zündschlüssel in den Schließzylinder und drehen Sie
diesen in die Position "Fahrt".

Nur Hersteller Kostal:
- Das Loch -2- unter dem Siegel
-3- frei legen.
- Die Abdeckung -1- mit einem kleinen
Schraubendreher in -Pfeilrichtung- entriegeln
und abnehmen.

Fortsetzung alle Fahrzeuge:
- Den Zündanlassschalter mit 2 kleinen Schraubendrehern
-Pfeile- entriegeln.
- Den Zündanlassschalter -1- aus dem
Lenkschlossgehäuse herausziehen.

Einbauen:
- Den Zündschlüssel in den Schließzylinder stecken und in die Position
"Fahrt" drehen.
- Den Zündanlassschalter in das Lenkschlossgehäuse stecken, bis er hörbar
verrastet.
Hinweis
Der Schlüssel muss sich in Position "Fahrt" befinden.
Schlüsselstellungen des Schließzylinders:
- Position "Halt"
- Position "Fahrt"
- Position "Start"
- Zündschlüssel in Position "Halt" drehen.
- Alle Bauteile sinngemäß in umgekehrter Reihenfolge wieder einbauen.
Zündanlassschalter prüfen
- Fahrzeugdiagnosetester anschließen.
- Zündanlassschalter prüfen
→ Fahrzeugdiagnosetester.
Zündanlassschalter aus- und einbauen, Fahrzeuge mit Keyless Access
Bei Fahrzeugen mit dem schlüssellosen Schließ- und Startsystem "Keyless
Access" ist anstelle des herkömmlichen Zündanlassschalters an der Lenksäule der
Taster für Startanlage -E378- in der Mittelkonsole eingebaut.
Taster für Startanlage -E378- aus- und einbauen.
Magnet für Zündschlüsselabzugsperre -N376-
Der Magnet für Zündschlüsselabzugsperre -N376- ist in unmittelbarer Nähe des
Zündanlassschalters eingebaut.
Magnet für Zündschlüsselabzugsperre -N376- aus- und einbauen
Hinweis
Zum Abziehen des Zündschlüssels bei Fahrzeugen mit Doppelkupplungsgetriebe
(DSG), immer erst den Wählhebel in Position "P" stellen und anschließend die
Zündung ausschalten. Andernfalls verhindert der Magnet für
Zündschlüsselabzugsperre -N376- das Abziehen des Zündschlüssels!
Ausbauen:
- Lenksäulenverkleidung ausbauen
→ Karosserie-Montagearbeiten Innen;
- Die Verrastung -2- mit einem geeigneten
Schraubendreher entriegeln.
- Den Magnet für Zündschlüsselabzugsperre -N376--1-
in Pfeilrichtung aus seiner Aufnahme ziehen.
- Die Steckverbindung wird dabei gleichzeitig getrennt.

Einbauen:
- Der Einbau erfolgt in umgekehrter Reihenfolge, dabei ist Folgendes zu
beachten:
Hinweis
Nach dem Anklemmen der Batterie ist zur Aktivierung des Magnets für
Zündschlüsselabzugsperre -N376- die Stellglieddiagnose durchzuführen.
Lenkschlossgehäuse
Vorsicht!
Zum Ab- und Anklemmen der Batterie muss die im Reparaturleitfaden
beschriebene Vorgehensweise eingehalten werden.
Lenkschlossgehäuse aus- und einbauen
Hinweis
Zum ...
Allgemeine Beschreibung
Vorsicht!
Zum Ab- und Anklemmen der Batterie muss die Vorgehensweise, wie im
Reparaturleitfaden beschrieben, eingehalten werden.
Fehlererkennung und Fehleranzeige:
Das Zu ...
Mehr sehen:
Volkswagen Tiguan Reparaturanleitung > Füller: 2K-HS-Nass-in-Nass-Füller
Benennung:
2K-HS-Nass-in-Nass-Füller -LVM 013 008 A4-, Farbe hellgrau
2K-HS-Nass-in-Nass-Füller -LVM 013 905 A4-, Farbe schwarz
Ausgabe 03.2015
Produktbeschreibung
Der 2K-HS-Nass-in-Nass-Füller hellgrau ist ein hochwertiger, VOC- konformer
2K-HS-Nass-in-Nass-Füller auf Acrylharz-Bas ...