Volkswagen Tiguan Reparaturanleitung: Reparatur von Kontaktgehäusen und Steckverbindungen
Hinweise zur Reparatur von Kontaktgehäusen und Steckverbindungen
Hinweis
- Beachten Sie die allgemeinen Hinweise zur Reparatur an der
Fahrzeugelektrik.
- Die Zuordnung der passenden Crimpkontakte zu den Kontaktgehäusen wird
anhand der eingeprägten Teilenummer auf dem Kontaktgehäuse vorgenommen. Auf
der Bildtafel 198 (elektrische Verbindungselemente) im
→ Ersatzteilkatalog (ETKA) sind die Teilenummern der
Kontaktgehäuse in Verbindung mit den jeweils passenden Crimpkontakten
aufgeführt.
- Beschädigte Kontaktgehäuse müssen grundsätzlich ausgetauscht werden.
- Neue Kontaktgehäuse können über das OTC-Kassel bestellt werden.
Reparatur von Kontakten in Kontaktgehäusen
- Öffnen oder entriegeln Sie ggf. zuerst die Sekundärverriegelung des
Kontaktgehäuses.
- Entriegeln Sie den Kontakt (Primärverriegelung) mit dem passenden
Entriegelungswerkzeug.
- Ziehen Sie den Kontakt an der Einzelleitung aus dem Kontaktgehäuse.
- Nehmen Sie die gelbe Reparaturleitung mit dem richtigen Kontakt aus dem
Leitungsstrang-Reparaturset.
- Legen Sie die Reparaturstelle des fahrzeugeigenen Leitungsstrangs frei
(ca. 20 cm zu beiden Seiten der Reparaturstelle).

- Falls nötig, entfernen Sie die Umwicklung des Leitungsstrangs unter
Verwendung des Klappmessers.
- Stecken Sie den neuen Kontakt der Reparaturleitung in das
Kontaktgehäuse, bis er verrastet.
- Schieben Sie eine Einzelleitungsabdichtung auf die Reparaturleitung auf.

Hinweis
Der kleine Durchmesser der Einzelabdichtung muss dabei zum Kontaktgehäuse
zeigen.
- Schieben Sie die Einzelleitungsabdichtung unter Verwendung des richtigen
Montagewerkzeugs in das Kontaktgehäuse ein.
- Kürzen Sie die Reparaturleitung und die Einzelleitung des
fahrzeugeigenen Leitungsstrangs entsprechend Ihren Bedürfnissen mit der
Abisolierzange -VAS 1978/3-.

- Isolieren Sie die Leitungsenden der Reparaturleitung und der
fahrzeugeigenen Einzelleitung mit der Abisolierzange 6 - 7 mm ab.
- Verquetschen Sie die abisolierten Enden von Reparaturleitung- und
Einzelleitung des fahrzeugeigenen Leitungsstrangs mit der Crimpzange und
einem Quetschverbinder, wie im Kapitel "Leitungsunterbrechungen mit
einzelner Reparaturstelle" beschrieben.

Hinweis
- Achten Sie darauf, dass bei mehreren zu reparierenden Leitungen die
Quetschverbinder nicht direkt nebeneinanderliegen. Damit der Umfang des
Leitungsstrangs nicht zu groß wird, ordnen Sie die Quetschverbinder etwas
versetzt an.
- Falls die Reparaturstelle vorher umwickelt war, muss diese Stelle nach
der Reparatur mit gelbem Isolierband neu umwickelt werden.
- Befestigen Sie den reparierten Leitungsstrang ggf. mit einem
Kabelbinder, um Klappergeräusche im Fahrbetrieb zu vermeiden.

Montage von Einzelleitungsabdichtungen
Hinweis
- Einzelleitungsabdichtungen verhindern das Eindringen von Wasser und
Schmutz in das Kontaktgehäuse. Sie werden z. B. im Motorraum verbaut und
sind nach einer Reparatur grundsätzlich wieder einzubauen.
- Serienmäßig ist die Einzelleitungsabdichtung zusammen mit dem Kontakt an
der Leitung angecrimpt, dies ist bei Reparaturleitungen nicht der Fall. Vor
dem Quetschen der Reparaturleitung müssen Sie also erst die
Einzelleitungsabdichtung auf die Leitung schieben.
- Einzelleitungsabdichtungen müssen unbedingt mit dem Leitungsquerschnitt
der verwendeten Reparaturleitung zusammenpassen. Der Außendurchmesser der
Einzelleitungsabdichtung richtet sich nach dem Kammerdurchmesser des
Kontaktgehäuses. Führen Sie die Montage nur mit dem passenden
Montagewerkzeug durch.
Montage der Einzelleitungsabdichtung:
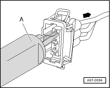
- Klinken Sie mit dem passenden Entriegelungswerkzeug
-A- die Kontaktverrastung aus und ziehen Sie
anschließend die Leitung mit der Einzelleitungsabdichtung nach hinten
-Pfeil- aus dem Kontaktgehäuse heraus.

- Schneiden Sie den alten Kontakt mit der Einzelleitungsabdichtung vom
fahrzeugeigenen Leitungsstrang ab.

- Schieben Sie die Reparaturleitung mit dem neuen Kontakt in die
entsprechende Kammer des Kontaktgehäuses ein, bis er verrastet.

- Stecken Sie die Einzelleitungsabdichtung -A-
auf das freie Ende der Reparaturleitung auf.

Hinweis
Der kleine Durchmesser der Einzelleitungsabdichtung muss dabei zum
Kontaktgehäuse zeigen.
- Schieben Sie die Einzelleitungsabdichtung -A-
auf der Reparaturleitung bis zum Kontaktgehäuse.
- Schieben Sie die Einzelleitungsabdichtung -A-
mit dem entsprechenden Montagewerkzeug -B- bis
zum Anschlag in das Kontaktgehäuse ein.

- Kürzen Sie die Reparaturleitung und die Einzelleitung des
fahrzeugeigenen Leitungsstrangs entsprechend Ihren Bedürfnissen mit der
Abisolierzange -VAS 1978/3-.
- Verquetschen Sie die abisolierten Enden von Reparaturleitung- und
Einzelleitung des fahrzeugeigenen Leitungsstrangs mit der Crimpzange und
einem Quetschverbinder, wie im Kapitel "Leitungsunterbrechungen mit
einzelner Reparaturstelle" beschrieben.

Reparatur von Kontaktgehäusen in Schneidklemmtechnik
Hinweis
- Aus technischen Gründen können die Kontaktgehäuse für die
Schneidklemmtechnik nur mit eingeschobenen Schneidklemmkontakten
ausgeliefert werden.
- Diese Kontakte können Sie, falls Sie sie nicht benötigen, wie bei jedem
anderen Kontaktgehäuse entfernen.
- Es sind Reparaturleitungen lieferbar, die bereits mit den entsprechenden
Kontakten in angecrimpter Form versehen sind
→ Ersatzteilkatalog (ETKA).

Reparatursatz, Antennenleitung VAS 6720
Benötigte Spezialwerkzeuge, Prüf- und Messgeräte sowie Hilfsmittel
Reparatursatz, Antennenleitung -VAS 6720-
Der Reparatursatz, Antennenleitung -VAS ...
Hinweise zum Entriegeln und Zerlegen von Kontaktgehäusen
Hinweis
Beachten Sie die allgemeinen Hinweise zur Reparatur an der
Fahrzeugelektrik.
Verwenden Sie immer die zum Entriegeln vorgeseh ...
Mehr sehen:
Volkswagen Tiguan Reparaturanleitung > Kommunikation: Mobile Online-Dienste
Allgemeine Hinweise
Die Mobilen Online-Dienste gibt es nur in Verbindung mit einem Radio/RNS
-RX1-.
Bei Fahrzeugen mit Telefon ist die Telefonfunktionalität im Steuergerät für
Notrufmodul und Kommunikationseinheit -J949- integriert, das Steuergerät für
Bedienungselektronik des Handys -J ...