Volkswagen Tiguan Reparaturanleitung: Parklenkassistent (PLA)
Allgemeine Beschreibung
Hinweis
- Bei Beanstandungen ist es unbedingt erforderlich, die Funktion und die
Bedienung des Parklenkassistenten zu kennen.
- Zusätzliche Informationen
→ Bedienungsanleitung.
Das System Parklenkassistent (PLA) unterstützt den Fahrer beim
Rückwärtseinparken in eine fahrer- oder beifahrerseitige Parallelparklücke. Bei
aktiviertem Parklenkassistenten und einer Vorbeifahrt unter 35 km/h wird der
Fahrbahnrand von Ultraschallsensoren auf der Suche nach einer geeigneten
Parklücke vermessen. Ist eine Parklücke sicher erkannt, fordert der
Parklenkassistent den Fahrer auf weiter an der Parklücke vorbeizufahren, bis das
Fahrzeug in einer Position steht, aus der ein einzügiges Einparken möglich ist.
Mit dem Einlegen des Rückwärtsgangs übernimmt der Parklenkassistent durch
Ansteuern der EPS (electronic power steering = elektromechanische Servolenkung)
die Querführung des Fahrzeugs und lenkt das Fahrzeug entlang einer berechneten
Sollbahn in einem Zug in die Parklücke. Der Fahrer übernimmt dabei durch die
Bedienung des Fußhebelwerks (Gas, Kupplung, Bremse) weiterhin die Längsführung
des Fahrzeugs und bestimmt damit die Einparkgeschwindigkeit. Während des
Einparkvorgangs werden die Sensoren des Parklenkassistenten zusammen mit den
Gebern für Einparkhilfe zur Abstandsüberwachung genutzt.
- Parklenkassistent wird über Taster für Parklenkassistent -E581-
ausgeschaltet
- Zündung wird ausgeschaltet
- Einparkgeschwindigkeit zu hoch (>7 km/h)
- Lenkeingriff durch den Fahrer während des Einparkvorgangs
- Herausnehmen des Rückwärtsgangs
- Zeitlimit Fahrzeugstillstand überschritten (ca. 30 s)
- ESP ausgeschaltet oder Eingriff ESP
- Eingriff ASR
- Anhänger am Fahrzeug
- Einparkhilfe (PDC) wird eingeschaltet
- Sensoren erkennen einen Zustand, der eine sichere Bestimmung der
Fahrzeugposition gefährdet
- Systemstörung
ACHTUNG!
- Die Verantwortung beim Einparken liegt beim Fahrer.
- Der Parklenkassistent kann die Aufmerksamkeit des Fahrers nicht
ersetzen.
- Die Sensoren haben tote Bereiche, in denen Personen und Objekte nicht
erfasst werden können.
- Insbesondere auf Kleinkinder und Tiere achten, da diese von den Sensoren
nicht in jedem Fall erkannt werden.
Das System Parklenkassistent besteht aus:
- Steuergerät für Parklenkassistent -J791-
- Geber vorn links für Parklenkassistent, linke Fahrzeugseite -G568-
- Geber für Parklenkassistent hinten links -G716-
- Geber für Parklenkassistent hinten rechts -G717-
- Geber für Einparkhilfe vorn links -G255-
- Geber für Einparkhilfe vorn Mitte links -G254-
- Geber für Einparkhilfe vorn Mitte rechts -G253-
- Geber für Einparkhilfe vorn rechts -G252-
- Warnsummer für Einparkhilfe vorn -H22-
- Taster für Parklenkassistent -E581-
- Kontrollleuchte für Parklenkassistent -K241-
- Lampe für Tasterbeleuchtung -L76-
Fehlererkennung und Fehleranzeige:
Das System Parklenkassistent ist mit einer Eigendiagnose ausgestattet, die
die Fehlersuche erleichtert.
Zur Fehlersuche ist den Fahrzeugdiagnosetester in der Betriebsart "Geführte
Fehlersuche" zu verwenden.
Zur Überprüfung des gesamten Systems Parklenkassistent die Stellglieddiagnose
durchführen.
Montageübersicht Parklenkassistent (PLA)

- Geber vorn links für Parklenkassistent, linke Fahrzeugseite -G568-
- Einbauort: in der Stoßfängerabdeckung vorn
- aus- und einbauen
- prüfen
- Geber im Reparaturfall ersetzen
- Geberhalter im Reparaturfall ersetzen
- Geber für Einparkhilfe vorn links -G255-
- Einbauort: in der Stoßfängerabdeckung vorn
- aus- und einbauen
- prüfen
- Geber im Reparaturfall ersetzen
- Geberhalter im Reparaturfall ersetzen
- Geber für Einparkhilfe vorn Mitte links -G254-
- Einbauort: im Kühlerschutzgitter
- aus- und einbauen
- prüfen
- Geber im Reparaturfall ersetzen
- Geberhalter im Reparaturfall ersetzen
- Geber für Einparkhilfe vorn Mitte rechts -G253-
- Einbauort: im Kühlerschutzgitter
- aus- und einbauen
- prüfen
- Geber im Reparaturfall ersetzen
- Geberhalter im Reparaturfall ersetzen
- Geber für Einparkhilfe vorn rechts -G252-
- Einbauort: in der Stoßfängerabdeckung vorn
- aus- und einbauen
- prüfen
- Geber im Reparaturfall ersetzen
- Geberhalter im Reparaturfall ersetzen
- Geber vorn rechts für Parklenkassistent, rechte Fahrzeugseite -G569-
- Einbauort: in der Stoßfängerabdeckung vorn
- aus- und einbauen
- prüfen
- Geber im Reparaturfall ersetzen
- Geberhalter im Reparaturfall ersetzen
- Geber für Parklenkassistent hinten rechts -G717-
- Einbauort: in der Stoßfängerabdeckung hinten
- aus- und einbauen
- prüfen
- Geber im Reparaturfall ersetzen
- Geberhalter im Reparaturfall ersetzen
- Taster für Einparkhilfe -E266- vorn
- Einbauort: in der Ablage der Mittelkonsole vor dem Schalthebel
- aus und einbauen
- prüfen
- Taster für Parklenkassistent -E581-
- Einbauort: in der Ablage der Mittelkonsole vor dem Schalthebel
- aus- und einbauen
- Warnsummer für Einparkhilfe hinten -H15-
- Einbauort: hinter der rechten Seitenwandverkleidung im Kofferraum
- aus- und einbauen
- Lautstärke anpassen
- Tonlage anpassen
- Warnsummer für Einparkhilfe vorn -H22-
- Einbauort: im Fahrerfußraum, über dem Relaisträger der Schalttafel
links
- aus- und einbauen, Linkslenker
- aus- und einbauen, Rechtslenker
- Lautstärke anpassen
- Tonlage anpassen
- Steuergerät für Parklenkassistent -J791-
- Einbauort: im Fahrerfußraum, über dem Relaisträger der Schalttafel
links
- aus- und einbauen, Linkslenker
- codieren
- Anzugsdrehmoment Befestigungsschraube: 5 Nm
- Geber für Parklenkassistent hinten links -G716-
- Einbauort: in der Stoßfängerabdeckung hinten
- aus- und einbauen
- prüfen
- Geber im Reparaturfall ersetzen
- Geberhalter im Reparaturfall ersetzen
Steuergerät für Parklenkassistent -J791-
Das Steuergerät für Parklenkassistent -J791- befindet sich im hinter dem
Ablagefach im Fahrerfußraum oberhalb des Relaisträgers. Das Steuergerät für
Parklenkassistent übernimmt bei Fahrzeugen mit Einparkhilfe vorn, bzw. PLA
gleichzeitig auch die Steuerung der Funktionen der Einparkhilfe hinten.
Steuergerät für Parklenkassistent -J791- aus- und einbauen, Linkslenker
Ausbauen:
- Zündung und alle elektrischen Verbraucher ausschalten und den
Zündschlüssel abziehen.
- Blende im Fahrerfußraum ausbauen
→ Karosserie Montagearbeiten innen; Rep.-Gr.68.
- Die Verrastungen -Pfeile-
auseinanderdrücken und das Steuergerät für Parklenkassistent -J791- mit
angeschlossenen Leitungen aus seinem Halter nehmen.

- Die 3 Steckverbindungen -Pfeile- entriegeln
und trennen und das Steuergerät für Parklenkassistent -J791--1-
aus dem Fahrzeug nehmen.

Einbauen:
Der Einbau erfolgt sinngemäß in umgekehrter Reihenfolge.
Steuergerät für Parklenkassistent -J791- aus- und einbauen, Rechtslenker
Ausbauen:
- Zündung und alle elektrischen Verbraucher ausschalten und den
Zündschlüssel abziehen.
- Blende im Fahrerfußraum ausbauen
→ Karosserie Montagearbeiten innen;
- Relaisträger Schalttafel, Rechtslenker ausbauen.
- Verriegelungstaste -Pfeil- drücken und das
Steuergerät für Parklenkassistent -J791--2- aus
der Aufnahme im Halter -1- herausziehen.

- Die 3 Stecker -Pfeile- entriegeln und
abziehen und das Steuergerät für Parklenkassistent -J791--1-
aus dem Fahrzeug nehmen.

Einbauen:
Der Einbau erfolgt sinngemäß in umgekehrter Reihenfolge.
Steuergerät für Parklenkassistent -J791- codieren
- Steuergerät für Parklenkassistent -J791- codieren
→ Fahrzeugdiagnosetester.
Geber für Einparkhilfe vorn bzw. Geber für Parklenkassistent vorn
Die Geber für Einparkhilfe vorn und die Geber für Parklenkassistent vorn sind
in die vordere Stoßfängerabdeckung eingebaut. Die beiden Geber für
Parklenkassistent sitzen seitlich in den äußersten Positionen der
Stoßfängerabdeckung und werden während des Einparkvorgangs zusammen mit den
Gebern für Einparkhilfe zur Abstandsmessung genutzt.
Geber für Einparkhilfe vorn bzw. Geber für Parklenkassistent vorn aus- und
einbauen
Folgende Geber für Einparkhilfe vorn bzw. Geber für Parklenkassistent vorn
befinden sich in der vorderen Stoßfängerabdeckung:
- Geber vorn links für Parklenkassistent, linke Fahrzeugseite -G568-
- Geber für Einparkhilfe vorn links -G255-
- Geber für Einparkhilfe vorn Mitte links -G254-
- Geber für Einparkhilfe vorn Mitte rechts -G253-
- Geber für Einparkhilfe vorn rechts -G252-
- Geber vorn rechts für Parklenkassistent, rechte Fahrzeugseite -G569-
Hinweis
Der Aus- und Einbau der Geber für Einparkhilfe vorn und der Geber für
Parklenkassistent erfolgt in gleicher Weise und ist folgend nur für einen Geber
beschrieben.
Ausbauen:
- Zündung und alle elektrischen Verbraucher ausschalten und den
Zündschlüssel abziehen.
Vorsicht!
Die Reihenfolge des Ausbaus der Geber ist unbedingt einzuhalten.
Der Geber kann sonst beschädigt werden. Bei zu großer Krafteinwirkung auf den
Geber können Haarrisse entstehen, die zum Ausfall der Geber führen.
Erst den Geber aus dem Halter nehmen und anschließend den Stecker des Gebers
entriegeln und abziehen.
- Stoßfängerabdeckung vorn ausbauen
→ Karosserie-Montagearbeiten Außen;
- Die Verriegelungen -Pfeile- am Geberhalter
-1- nach außen drücken und den Geber
-2- mit angeschlossenen Leitungen nach hinten
aus dem Geberhalter herausziehen.

Hinweis
- Beim Ausbau des Gebers darauf achten, dass der Entkopplungsring
(schwarzer Silikonring) auf dem Geberkopf verbleibt und nicht im Halter
stecken bleibt oder verloren geht.
- Das Dehnen des Entkopplungsrings ist unbedingt zu vermeiden.

- Stecker -2- entriegeln und abziehen und den
Geber -1- abnehmen.
Einbauen:
Der Einbau erfolgt sinngemäß in umgekehrter Reihenfolge, dabei ist Folgendes
zu beachten:
Vorsicht!
Bei einem falschen oder beschädigten Entkopplungsring kann es zu
Funktionsstörungen kommen.
Das Dehnen des Entkopplungsrings ist unbedingt zu vermeiden.
Beschädigte Entkopplungsringe ersetzen und sicherstellen, dass der richtige
Entkopplungsring verbaut wird.
Hinweis
Da die Geber für Einparkhilfe vorn und die Geber für Parklenkassistent
unterschiedlich lange Geberköpfe haben, werden auch unterschiedlich hohe
Entkopplungsringe verbaut.

- Prüfen, ob der richtige Entkopplungsring auf dem Geberkopf verbaut ist.
| Geberart |
Höhenmaß Entkopplungsring
-B- |
| Geber für Einparkhilfe
vorn |
5,7 mm |
| Geber für Parklenkassistent |
9,05 mm |
Hinweis
- Beim Einbau des Gebers darauf achten, dass der Entkopplungsring richtig
auf den Geberkopf gesteckt ist und sich beim Einstecken in den Geberhalter
nicht verwirft oder aufrollt.
- Beide Rastnasen des Geberhalters müssen beim Einbau des Gebers hörbar
verrasten.

- Nach dem Gebereinbau den richtigen Sitz des Gebers im Halter
kontrollieren. Der auf der Außenseite des Stoßfängers sichtbare Ringspalt
zwischen Geberkopf und Stoßfängerabdeckung -a-
muss umlaufend das gleiche Maß haben.
Geber für Einparkhilfe vorn bzw. Geber für Parklenkassistent vorn ersetzen
Das Ersetzen der Geber für Einparkhilfe vorn bzw. Geber für Parklenkassistent
vorn erfolgt in gleicher Weise wie für die Geber für Parklenkassistent hinten.
Geber für Einparkhilfe vorn, bzw. Geber für Parklenkassistent prüfen
- Geber für Einparkhilfe vorn, bzw. Geber für Parklenkassistent prüfen
→ Fahrzeugdiagnosetester.
Geberhalter für Einparkhilfe vorn bzw. Parklenkassistent vorn ersetzen
Die Geberhalter für die Geber für Einparkhilfe vorn bzw. die Geber für
Parklenkassistent sind mit einem Ultraschallverfahren auf der Innenseite in die
Stoßfängerabdeckung eingeschweißt. Wird ein Geberhalter beschädigt oder die
Stoßfängerabdeckung ersetzt, können neue Geberhalter mit einem Montagewerkzeug
in die Stoßfängerabdeckung eingesetzt werden.
Geberhalter für Einparkhilfe einbauen
→ Karosserie-Montagearbeiten Außen; Rep.-Gr.63
Geber für Parklenkassistent hinten
Die Geber für Parklenkassistent hinten sind in die hintere
Stoßfängerabdeckung eingebaut. Die beiden Geber für Parklenkassistent hinten
sitzen seitlich in den äußersten Positionen der Stoßfängerabdeckung und werden
während des Einparkvorgangs zusammen mit den Gebern für Einparkhilfe zur
Abstandsmessung genutzt.
Geber für Parklenkassistent hinten aus- und einbauen
Folgende Geber für Parklenkassistent hinten befinden sich in der hinteren
Stoßfängerabdeckung:
- Geber für Parklenkassistent hinten rechts -G717-
- Geber für Parklenkassistent hinten links -G716-
Ausbauen:
- Zündung und alle elektrischen Verbraucher ausschalten und den
Zündschlüssel abziehen.
Vorsicht!
Die Reihenfolge des Ausbaus der Geber ist unbedingt einzuhalten.
Der Geber kann sonst beschädigt werden. Bei zu großer Krafteinwirkung auf den
Geber können Haarrisse entstehen, die zum Ausfall der Geber führen.
Erst den Geber aus dem Halter nehmen und anschließend den Stecker des Gebers
entriegeln und abziehen.
- Die Stoßfängerabdeckung hinten abbauen
→ Karosserie-Montagearbeiten Außen;
- Die Verriegelungen -Pfeile- am Geberhalter
-1- nach außen drücken und den Geber
-2- mit angeschlossenen Leitungen nach hinten
aus dem Geberhalter herausziehen.

Hinweis
- Beim Ausbau des Gebers darauf achten, dass der Entkopplungsring
(schwarzer Silikonring) auf dem Geberkopf verbleibt und nicht im Halter
stecken bleibt oder verloren geht.
- Das Dehnen des Entkopplungsrings ist unbedingt zu vermeiden.

- Den Stecker -2- entriegeln und abziehen und
den Geber -1- abnehmen.
Einbauen:
Der Einbau erfolgt sinngemäß in umgekehrter Reihenfolge, dabei ist Folgendes
zu beachten:
Vorsicht!
Bei einem beschädigten Entkopplungsring kann es zu Funktionsstörungen kommen.
Das Dehnen des Entkopplungsrings ist unbedingt zu vermeiden.
Beschädigte Entkopplungsringe sind zu ersetzen.
Hinweis
Da die Geber für Einparkhilfe und die Geber für Parklenkassistent
unterschiedlich lange Geberköpfe haben, werden auch unterschiedlich hohe
Entkopplungsringe verbaut.

- Prüfen, ob der richtige Entkopplungsring auf dem Geberkopf verbaut ist.
| Geberart |
Höhenmaß Entkopplungsring
-B- |
| Geber für Einparkhilfe |
5,7 mm |
| Geber für Parklenkassistent |
9,05 mm |
Hinweis
- Beim Einbau des Gebers darauf achten, dass der Entkopplungsring richtig
auf den Geberkopf gesteckt ist und sich beim Einstecken in den Geberhalter
nicht verwirft oder aufrollt.
- Beide Verriegelungen des Geberhalters müssen beim Einbau des Gebers
hörbar verrasten.

- Nach dem Gebereinbau den richtigen Sitz des Gebers im Halter
kontrollieren. Auf der Außenseite des Stoßfängers sichtbar muss das Maß
-a- des Ringspalts zwischen Geberkopf und
Stoßfängerabdeckung gleichmäßig umlaufend sein.
Geber für Parklenkassistent ersetzen
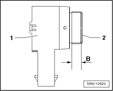
Wird ein neuer Geber für Parklenkassistent verbaut, muss der Geberkopf vorher
in der Farbe der Stoßfängerabdeckung lackiert werden. Bei der Lackierung der
Geber müssen die folgenden Bedingungen eingehalten werden, um die Funktion des
Parklenkassistenten nicht zu beeinträchtigen.
Lackierung der Geber:
- Entkopplungsring (schwarzer Silikonring) vom neuen Geberkopf abnehmen.
- Den schwarzen Geberkopf -1- in dem zu
lackierenden Bereich -2- mit Isopropanol
entfetten.
- Geber in dem zu lackierenden Bereich -2- in
der Farbe der Stoßfängerabdeckung lackieren.

Hinweis
Das Maß -B- für den Lackauftrag beträgt 3 mm
(+maximal 2 mm).
- Nach der Lacktrocknung den Entkopplungsring (schwarzer Silikonring)
wieder auf den Geberkopf aufsetzen.
Vorsicht!
- Das Dehnen des Entkopplungsrings ist unbedingt zu vermeiden.
- Bei Verwendung eines beschädigten Entkopplungsrings kann es zu
Funktionsstörungen kommen.
- Beschädigte Entkopplungsringe sind zu ersetzen.
Geber für Parklenkassistent hinten prüfen
Das Prüfen der Geber für Parklenkassistent hinten erfolgt in gleicher Weise
wie für die Geber für Einparkhilfe vorn bzw. Geber für Parklenkassistent vorn.
Geberhalter für Parklenkassistent hinten ersetzen
Die Geberhalter in der hinteren Stoßfängerabdeckung sind zweiteilig
ausgeführt und werden in die Stoßfängerabdeckung eingeclipst. Vor der Montage
müssen die neuen Geberhalter in der Farbe der Stoßfängerabdeckung lackiert
werden.
- Lackierung der Geberhalter in der Stoßfängerabdeckung hinten.
- Zuordnung der Geberhalter Parklenkassistent zum Einbauort in der
Stoßfängerabdeckung hinten.
- Geberhalter in der Stoßfängerabdeckung hinten aus- und einbauen.
Lackierung der Geberhalter Parklenkassistent in der Stoßfängerabdeckung
hinten
Vor der Montage müssen die neuen Geberhalter in der Farbe der
Stoßfängerabdeckung lackiert werden. Bei der Lackierung der Geberhalter müssen
die folgenden Bedingungen eingehalten werden, um die Funktion der Einparkhilfe
nicht zu beeinträchtigen.
- Die den neuen Geberhalter in dem zu lackierenden Bereich
-1- mit Isopropanol (technischer Alkohol)
entfetten.
- Geberhalter in dem zu lackierenden Bereich -1-
in der Farbe der Stoßfängerabdeckung lackieren.

Hinweis
Die Innenseite des Geberhalters nur bis zum angegebenen Bereich lackieren.
Nichtbeachtung kann zu Montageschwierigkeiten und Funktionsstörungen des
Parklenkassistenten führen.
Zuordnung der Geberhalter Parklenkassistent zum Einbauort in
Stoßfängerabdeckung hinten
Die Geberhalter können in der Form unterschiedlich ausgeführt sein und müssen
dem jeweiligen Einbauort in Stoßfängerabdeckung hinten zugeordnet werden.
Zuordnung der Geberhalter Parklenkassistent in der Innenseite der
Stoßfängerabdeckung hinten:
- Geber für Parklenkassistent hinten rechts -G717-
- Geber für Parklenkassistent hinten links -G716-

Geberhalter Parklenkassistent in der Stoßfängerabdeckung hinten aus- und
einbauen
Ausbauen:
- Geber für Parklenkassistent in der Stoßfängerabdeckung hinten ausbauen.
- Die beiden Verriegelungen -Pfeile-
zusammendrücken, um den äußeren Ring -1- zu
entriegeln.
- Den äußeren Ring -1- nach hinten vom
Geberhalter abziehen.

- Den Geberhalter -1- nach außen aus dem Loch
in der Stoßfängerabdeckung herausziehen.

Einbauen:
Der Einbau erfolgt sinngemäß in umgekehrter Reihenfolge, dabei ist Folgendes
zu beachten:
Hinweis
Beim Einbau der Geberhalter darauf achten, dass die Aussparungen für den
Geberanschluss, wie in der Abbildung dargestellt, in die richtige Richtung
weisen. Wird der Geberhalter falsch herum eingebaut, sind die Anschlussleitungen
der Geber zu kurz.
Taster für Parklenkassistent -E581-
Der Taster für Parklenkassistent ist in der Ablage der Mittelkonsole vor dem
Schalthebel verbaut. Er beinhaltet die Kontrollleuchte für Parklenkassistent
-K241- und ist nicht weiter zerlegbar.
Taster für Parklenkassistent -E581- aus- und einbauen
Der Aus- und Einbau des Tasters für Parklenkassistent -E581- erfolgt in
gleicher Weise wie bei allen Tastern in der Ablage der Mittelkonsole und ist im
Kapitel "Taster in der Ablage Mittelkonsole" beschrieben.
Taster für Parklenkassistent -E581- prüfen
Taster für Parklenkassistent -E581- prüfen
→ Fahrzeugdiagnosetester.
Warnsummer für Einparkhilfe
Das Steuergerät für Parklenkassistent -J791- übernimmt die Steuerung der
Funktionen der Einparkhilfe und des Parklenkassistenten. Die akustischen
Warnmeldungen des Parklenkassistenten erfolgen über die Warnsummer der
Einparkhilfe.
Einbauorte Warnsummer:
- Der Warnsummer für Einparkhilfe vorn -H22- befindet sich beim
Linkslenker hinter dem Schalttafeleinsatz oberhalb des Relaisträgers.
- Der Warnsummer für Einparkhilfe vorn -H22- befindet sich beim
Rechtslenker hinter dem Relaisträger Schalttafel oberhalb des Steuergeräts
für Parklenkassistent -J791-.
- Der Warnsummer für Einparkhilfe hinten -H15- befindet sich hinter der
rechten Seitenwandverkleidung.
Warnsummer für Einparkhilfe vorn -H22- aus- und einbauen, Linkslenker
Ausbauen:
- Zündung und alle elektrischen Verbraucher ausschalten und den
Zündschlüssel abziehen.
- Schalttafeleinsatz ausbauen.
- Die beiden Spreizniete -Pfeile- lösen und
den Warnsummer für Einparkhilfe vorn -H22- , unter Berücksichtigung der
angeschlossenen Leitungslängen, abnehmen.

- Den Stecker -Pfeil- entriegeln und abziehen
und den Warnsummer für Einparkhilfe vorn -H22--1-
aus dem Fahrzeug nehmen.

Einbauen:
Der Einbau erfolgt sinngemäß in umgekehrter Reihenfolge.
Warnsummer für Einparkhilfe vorn -H22- aus- und einbauen, Rechtslenker
Ausbauen:
- Zündung und alle elektrischen Verbraucher ausschalten und den
Zündschlüssel abziehen.
- Blende im Fahrerfußraum ausbauen
→ Karosserie Montagearbeiten innen;
- Relaisträger Schalttafel, Rechtslenker ausbauen.
- Die beiden Spreizniete -Pfeile- lösen und
den Warnsummer für Einparkhilfe vorn -H22--1-,
unter Berücksichtigung der angeschlossenen Leitungslängen, abnehmen.

- Den Stecker -Pfeil- entriegeln und abziehen
und den Warnsummer für Einparkhilfe vorn -H22--1-
aus dem Fahrzeug nehmen.

Einbauen:
Der Einbau erfolgt sinngemäß in umgekehrter Reihenfolge.
Lautstärke des Warnsummers für Einparkhilfe vorn -H22- anpassen
- Lautstärke des Warnsummers für Einparkhilfe vorn -H22- anpassen
→ Fahrzeugdiagnosetester.
Tonlage des Warnsummers für Einparkhilfe vorn -H22- anpassen
- Tonlage des Warnsummers für Einparkhilfe vorn -H22- anpassen
→ Fahrzeugdiagnosetester.
Warnsummer für Einparkhilfe hinten -H15- aus- und einbauen
Ausbauen:
- Die rechte Seitenwandverkleidung im Kofferraum ausbauen
→ Karosserie-Montagearbeiten innen;
- Stecker -1- entriegeln und abziehen.
- Spreiznieten -Pfeile- lösen und den
Warnsummer für Einparkhilfe hinten -H15--1-
abnehmen.

Einbauen:
Der Einbau erfolgt sinngemäß in umgekehrter Reihenfolge.
Lautstärke des Warnsummers für Einparkhilfe hinten -H15- anpassen
- Lautstärke des Warnsummers für Einparkhilfe hinten -H15- anpassen
→ Fahrzeugdiagnosetester.
Tonlage des Warnsummers für Einparkhilfe hinten -H15- anpassen
- Tonlage des Warnsummers für Einparkhilfe hinten -H15- anpassen
→ Fahrzeugdiagnosetester.
Allgemeine Beschreibung
Hinweis
Bei Beanstandungen ist es unbedingt erforderlich, die Funktion und die
Bedienung der Einparkhilfe zu kennen.
Zusätzliche Informationen
→ Bedienungs ...
Allgemeine Beschreibung
Hinweis
Bei Beanstandungen ist es unbedingt erforderlich, die Funktion und die
Bedienung des Rückfahrkamerasystems zu kennen.
Zusätzliche Informationen
→ ...
Mehr sehen:
Volkswagen Tiguan Betriebsanleitung > Gepäckraum: Ablagemanagement
Abb. 106
Unter dem variablen Gepäckraumboden: Ablagemanagement.
Abb. 107
Unter dem variablen Gepäckraumboden: Ablagemanagement.
Lesen und beachten Sie zuerst die einleitenden
Informationen und Sicherheitshinweise⇒Einleitung
zum Thema Kleine Gegenstände können im Ablagemanagement ⇠...