Steuer- und Regeleinheit für Klimaanlage -J127-
Diese Steuer- und Regeleinheit schaltet den Kältemittelfluss durch den 2. Verdampfer ab, wenn die Temperatur an den Kühlrippen des 2. Verdampfers auf den Gefrierpunkt für Wasser (Vereisungsschutz) absinkt.

Steuergerät für Kühlerlüfter -J293-
Hinweis
Gibt es in unterschiedlichen Bauformen, mal separat.

Dieses Steuergerät schaltet die Magnetkupplung und damit den Klimakompressor ein und aus. Es schaltet den Kühlerlüfter ein und berechnet bei Fahrzeugen mit Hochdruckgeber -G65- oder Geber für Kältemitteldruck und Kältemitteltemperatur -G395- den Druck im Kältemittelkreislauf.
Steuergerät für Kühlerlüfter -J293-
Hinweis
Gibt es in unterschiedlichen Bauformen, mal am Kühlerlüfter -Pfeile- angebaut.

Dieses Steuergerät schaltet die Magnetkupplung und damit den Klimakompressor ein und aus. Es schaltet den Kühlerlüfter ein und berechnet bei Fahrzeugen mit Hochdruckgeber -G65- oder Geber für Kältemitteldruck und Kältemitteltemperatur -G395- den Druck im Kältemittelkreislauf.
Temperaturschalter für Verdampfer -E33-
Funktion:
Der Temperaturschalter für Verdampfer -E33- ermittelt die Temperatur zwischen den Kühlrippen des Verdampfers. Es verhindert die Möglichkeit der Eisbildung zwischen den Kühlrippen des Verdampfers, indem die Stromzufuhr zur Magnetkupplung des Klimakompressors unterbrochen wird, wenn die Temperatur an den Kühlrippen auf den Gefrierpunkt für die Luftfeuchtigkeit absinkt.
Die Einstecktiefe des Fühlrohres ist gekennzeichnet oder im Reparaturleitfaden angegeben.

Hinweis
Eingebaut in VW-Fahrzeugen mit Klimakompressorantrieb über Keilrippenriemen
Geber für Ausströmtemperatur Verdampfer -G263- oder Temperaturfühler für Verdampfer -G308-
Funktion:
Der Geber für Ausströmtemperatur Verdampfer -G263- oder Temperaturfühler für Verdampfer -G308- ermittelt die Temperatur hinter dem Verdampfer. Dieser Wert geht an den das Steuergerät für Klimaanlage und dient als Referenzsignal für die Regelung des Klimakompressors. Somit wird eine Vereisung des Verdampfers vermieden.

Drücke und Temperaturen im Kältemittelkreislauf
ACHTUNG!
Bei Arbeiten am Kältemittelkreislauf sind die allgemein geltenden Sicherheitsvorschriften und die Druckbehälterverordnung zu beachten.
Die Drücke und Temperaturen im Kältemittelkreislauf sind abhängig von momentanen Betriebszuständen (z. B. Motordrehzahl, Kühlerlüfter Stufe 1, 2 oder 3, Motortemperatur, Klimakompressor ein oder aus) sowie von den einwirkenden Umgebungseinflüssen (z. B. Umgebungstemperatur, Luftfeuchtigkeit, geforderte Kälteleistung).
Bei Fahrzeugen mit Regelventil für Kompressor der Klimaanlage -N280- wird der Druck auf der Niederdruckseite durch die Ansteuerung des Ventils verändert.
Aus diesem Grunde können die in den folgenden Tabellen angegebenen Werte nur als Anhaltspunkte gelten. Sie stellen sich bei einer Motordrehzahl von 1500 bis 2000 U/min. und einer Umgebungstemperatur von 20 ºC nach ca. 20 Min. ein.
Die für die Druckmessung vorgesehenen Anschlüsse für die Manometerbatterie finden Sie im fahrzeugspezifischen Kältemittelkreislauf.
Bei 20 ºC und stehendem Motor stellt sich im Kältemittelkreislauf ein Druck von 4,7 bar Überdruck ein.
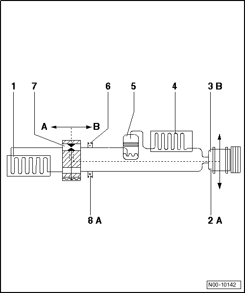
Kältemittelkreislauf mit Expansionsventil
A-Niederdruckseite des Kältemittelkreislaufes.
B-Hochdruckseite des Kältemittelkreislaufes.

| Bauteil | Aggregatzustand des Kältemittels | Druck (bar Überdruck) | Temperatur Grad Celsius |
| -1- Verdampfer, vom Eingang bis Ausgang | Dampf | ca. 1,2 bar | ca. -7 ºC |
| (ca. 1,8 bar) | (ca. -1 ºC) | ||
| -2- Klimakompressor A-Seite | Gas | ca. 1,2 bar | ca. -1 ºC |
| (ca. 1,8 bar) | (ca. +1 ºC) | ||
| -3- Klimakompressor B-Seite | Gas | ca. 14 bar | ca. +65 ºC |
| -4- Kondensator | Gas, Dampf, Flüssigkeit | ca. 14 bar | am Ausgang ca. +55 ºC |
| -5- Flüssigkeitsbehälter | Flüssigkeit | ca. 14 bar | ca. +55 ºC |
| -6- Absaug- und Füllventil B-Seite | Flüssigkeit | ca. 14 bar | ca. +55 ºC |
| -7- Expansionsventil | Flüssigkeit, in Dampf entspannt | ca. 14 bar | ca. +55 ºC, reduziert auf -7 ºC |
| -8- Absaug- und Füllventil A-Seite | Gas | ca. 1,2 bar | ca. -7 ºC |
| (ca. 1,8 bar) | (ca. -1 ºC) |
1) Der Druck wird in Kältemittelkreisläufen mit regelndem Klimakompressor trotz sich änderndem Wärmetransport und unterschiedlichen Motordrehzahlen auf ca. 2 bar gehalten. Dieses gilt aber nur innerhalb des Leistungsbereiches des Klimakompressors; werden die Leistungsgrenzen des Klimakompressors überschritten, steigt der Druck an.
2) Die Temperatur wird in Kältemittelkreisläufen mit regelndem Klimakompressor trotz sich änderndem Wärmetransport und unterschiedlichen Motordrehzahlen, innerhalb des Regelbereiches des Klimakompressors gehalten. Dieses gilt aber nur innerhalb des Leistungsbereiches des Klimakompressors; werden die Leistungsgrenzen des Klimakompressors überschritten, steigt die Temperatur an.
3) Messwerte für Klimaanlagen mit zwei Verdampfern
Hinweis
Kältemittelkreislauf mit Drossel und Auffangbehälter
Pfeile zeigen Fließrichtung des Kältemittels.
A-Niederdruckseite des Kältemittelkreislaufes.
B-Hochdruckseite des Kältemittelkreislaufes.

| Bauteil | Aggregatzustand des Kältemittels | Druck (bar Überdruck) | Temperatur Grad Celsius |
| -1- Klimakompressor B-Seite | Gas | bis 20 bar | bis +70 ºC |
| -2- Kondensator | Von Gas über Dampf zu Flüssigkeit | bis 20 bar | bis +70 ºC |
| -3- Drossel | Von Flüssigkeit zu Dampf | B-Seite bis 20 bar, A-Seite größer 1,5 bar | B-Seite bis +60 ºC, A-Seite wärmer als -4 ºC |
| -4- Verdampfer | Von Dampf zu Gas | größer 1,5 bar | wärmer als -4 ºC |
| -5- Auffangbehälter | Gas | ||
| -6- Klimakompressor A-Seite | Gas |
Die Drücke auf der A-Seite werden vom "regelnden" Klimakompressor auch bei unterschiedlichen Motordrehzahlen auf ca. 2 bar gehalten. Dieses gilt aber nur innerhalb des Leistungsbereiches des Klimakompressors, werden die Leistungsgrenzen des Klimakompressors überschritten.
Hinweis
Bei Fahrzeugen mit Regelventil für Kompressor der Klimaanlage -N280- wird der Druck auf der Niederdruckseite durch die Ansteuerung des Ventils verändert.
Schalter und Geber am Kältemittelkreislauf und zugehörige Anschlüsse
Mit Druckmanometer durchführbare Prüf- und MessarbeitenVolkswagen Tiguan Reparaturanleitung > Leuchten, Lampen, Schalter-innen, Diebstahlschutz: Signalhorn
Hochtonhorn -H2- und Tieftonhorn -H7-
Die Signalhörner sind links (Hochtonhorn -H2-) und rechts (Tieftonhorn -H7-)
neben den Längsträgern vor dem Motor angebaut.
Hochtonhorn -H2- und Tieftonhorn -H7- aus- und einbauen
Hinweis
Das Hochtonhorn -H2- und das Tieftonhorn -H7- werden vom
Bo ...