Allgemeine Beschreibung
Vorsicht!
Der Aus- und Einbau einzelner Bauteile des Lenkstockschalters muss in einer vorgeschriebenen Reihenfolge erfolgen.
ACHTUNG!
Vor Arbeiten an der elektrischen Anlage und dem Ausbau des Lenkrades müssen folgende Bedingungen erfüllt werden:
Die/der Mechaniker(in) muss sich elektrostatisch entladen. Dieses wird durch das Berühren von geerdeten Metallteilen, wie zum Beispiel Wasserleitungen, Heizungsrohren, Metallträgern oder einer Hebebühne, erreicht.
Wenn dieser Hinweis nicht beachtet wird, kann es zum Ausfall von Steuergeräten im späteren Betrieb kommen!
Wenn Sie diese Hinweise nicht beachten, kann es zum Ausfall des Airbag-Systems im späteren Betrieb kommen!
Vorsicht!
Wenn das Kreuzgelenk vom Lenkgetriebe getrennt ist oder der Lenkwinkelgeber -G85- ausgebaut ist, dürfen folgende Arbeiten nicht durchgeführt werden:
Diese Punkte müssen unbedingt beachtet werden, da dies sonst zu irreparablen Schäden führen kann.
Die Bauteile Lenkstockkombinationsschalter, Steuergerät für Lenksäulenelektronik und Grundträger für Lenkstockschalter werden in 2 herstellerabhängig unterschiedlichen Versionen verbaut (Hersteller Valeo oder Kostal). Zur Unterscheidung, welche Version verbaut ist, eignet sich die offensichtliche Befestigung des Steuergeräts für Lenksäulenelektronik am Lenkstockkombinationsschalter.
Hinweis
Fehlererkennung und Fehleranzeige:
Das Steuergerät für Lenksäulenelektronik -J527- ist mit einer Eigendiagnose ausgestattet, die die Fehlersuche erleichtert.
Zur Fehlersuche ist der → Fahrzeugdiagnosetester zu verwenden.
Montageübersicht Lenkstockschalter
Hinweis
Die Bauteile Steuergerät für Lenksäulenelektronik -J527-, Lenkstockkombinationsschalter -E595- und der Grundträger für Lenkstockschalter sind herstellerabhängig unterschiedlich ausgeführt (Hersteller Valeo oder Kostal). Die Abbildung der Montageübersicht zeigt die Ausführung des Herstellers Valeo.
ACHTUNG!
Vor Arbeiten an der elektrischen Anlage und dem Ausbau des Lenkrades müssen folgende Bedingungen erfüllt werden:
Die/der Mechaniker(in) muss sich elektrostatisch entladen. Dieses wird durch das Berühren von geerdeten Metallteilen, wie zum Beispiel Wasserleitungen, Heizungsrohren, Metallträgern oder einer Hebebühne, erreicht.
Wenn dieser Hinweis nicht beachtet wird, kann es zum Ausfall von Steuergeräten im späteren Betrieb kommen!
Wenn Sie diese Hinweise nicht beachten, kann es zum Ausfall des Airbag-Systems im späteren Betrieb kommen!
Vorsicht!
Wenn das Kreuzgelenk vom Lenkgetriebe getrennt ist oder der Lenkwinkelgeber -G85- ausgebaut ist, dürfen folgende Arbeiten nicht durchgeführt werden:
Diese Punkte müssen unbedingt beachtet werden, da dies sonst zu irreparablen Schäden führen kann.

Das Lenkschlossgehäuse wird zusammen mit dem Grundträger für Lenkstockschalter aus- und eingebaut.
- Aus- und Einbaureihenfolge beachten.
- Aus- und einbauen (Hersteller Valeo).
- Aus- und einbauen (Hersteller Kostal).
Aus- und Einbaureihenfolge der Bauteile des Lenkstockschalters
Vorsicht!
Zum Ab- und Anklemmen der Batterie muss die im Reparaturleitfaden beschriebene Vorgehensweise eingehalten werden.
ACHTUNG!
Vor Arbeiten an der elektrischen Anlage und dem Ausbau des Lenkrades müssen folgende Bedingungen erfüllt werden:
Die/der Mechaniker(in) muss sich elektrostatisch entladen. Dieses wird durch das Berühren von geerdeten Metallteilen, wie zum Beispiel Wasserleitungen, Heizungsrohren, Metallträgern oder einer Hebebühne, erreicht.
Wenn dieser Hinweis nicht beachtet wird, kann es zum Ausfall von Steuergeräten im späteren Betrieb kommen!
Wenn Sie diese Hinweise nicht beachten, kann es zum Ausfall des Airbag-Systems im späteren Betrieb kommen!
Vorsicht!
Wenn das Kreuzgelenk vom Lenkgetriebe getrennt ist oder der Lenkwinkelgeber -G85- ausgebaut ist, dürfen folgende Arbeiten nicht durchgeführt werden:
Diese Punkte müssen unbedingt beachtet werden, da dies sonst zu irreparablen Schäden führen kann.
Beim Ausbau des kompletten Lenkstockschalters incl. des Grundträgers wird dieser zerlegt und auch das Lenkschlossgehäuse mit ausgebaut. Für den Einbau des Lenkschlossgehäuses werden neue Abreißschrauben benötigt.
Auch wenn nur ein einzelnes Bauteil des Lenkstockschalters ausgebaut oder ersetzt wird, muss immer die Reihenfolge, wie folgend beschrieben, eingehalten werden.
Ausbauen:
ACHTUNG!
Die Bauteile des Lenkstockschalters in der folgenden Reihenfolge ausbauen:
Einbauen:
Der Einbau erfolgt sinngemäß in umgekehrter Reihenfolge.
Steuergerät für Lenksäulenelektronik -J527-
Das Steuergerät für Lenksäulenelektronik -J527- beinhaltet folgende Bauteile und ist nicht weiter zerlegbar:
ACHTUNG!
Vor Arbeiten an der elektrischen Anlage und dem Ausbau des Lenkrades müssen folgende Bedingungen erfüllt werden:
Die/der Mechaniker(in) muss sich elektrostatisch entladen. Dieses wird durch das Berühren von geerdeten Metallteilen, wie zum Beispiel Wasserleitungen, Heizungsrohren, Metallträgern oder einer Hebebühne, erreicht.
Wenn dieser Hinweis nicht beachtet wird, kann es zum Ausfall von Steuergeräten im späteren Betrieb kommen!
Wenn Sie diese Hinweise nicht beachten, kann es zum Ausfall des Airbag-Systems im späteren Betrieb kommen!
Hinweis
Vorsicht!
Wenn das Kreuzgelenk vom Lenkgetriebe getrennt ist oder der Lenkwinkelgeber -G85- ausgebaut ist, dürfen folgende Arbeiten nicht durchgeführt werden:
Diese Punkte müssen unbedingt beachtet werden, da dies sonst zu irreparablen Schäden führen kann.
Der Aus- und Einbau des Steuergeräts für Lenksäulenelektronik -J527- ist herstellerabhängig unterschiedlich.
Steuergerät für Lenksäulenelektronik -J527- aus- und einbauen (Hersteller Valeo)
Ausbauen:
Vorsicht!
Der Aus- und Einbau einzelner Bauteile des Lenkstockschalters muss in der vorgeschriebenen Reihenfolge erfolgen.
ACHTUNG!
Vorsicht!
Zum Ab- und Anklemmen der Batterie muss die im Reparaturleitfaden beschriebene Vorgehensweise eingehalten werden.
ACHTUNG!
Vor Arbeiten an der elektrischen Anlage und dem Ausbau des Lenkrades müssen folgende Bedingungen erfüllt werden:
Die/der Mechaniker(in) muss sich elektrostatisch entladen. Dieses wird durch das Berühren von geerdeten Metallteilen, wie zum Beispiel Wasserleitungen, Heizungsrohren, Metallträgern oder einer Hebebühne, erreicht.
Wenn dieser Hinweis nicht beachtet wird, kann es zum Ausfall von Steuergeräten im späteren Betrieb kommen!
Wenn Sie diese Hinweise nicht beachten, kann es zum Ausfall des Airbag-Systems im späteren Betrieb kommen!
Vorsicht!
Wenn das Kreuzgelenk vom Lenkgetriebe getrennt ist oder der Lenkwinkelgeber -G85- ausgebaut ist, dürfen folgende Arbeiten nicht durchgeführt werden:
Diese Punkte müssen unbedingt beachtet werden, da dies sonst zu irreparablen Schäden führen kann.
Die folgenden Bauteile der Reihe nach ausbauen:

Hinweis
Die Wickelfeder am Steuergerät für Lenksäulenelektronik -J527- darf beim Ausbau nicht aus der Mittelstellung verdreht werden. Die Vorderräder müssen sich in "Geradeauslaufstellung" befinden.
Einbauen:
Der Einbau erfolgt in umgekehrter Reihenfolge, dabei ist Folgendes zu beachten:
Vorsicht!
Der Rückstellhebel des Blinklichtschalters kann beim Einbau des Steuergeräts abbrechen.
Beim Einbau des Steuergeräts muss der Blinkerhebel in der 0-Stellung stehen, damit der Rückstellhebel nicht ausgefahren ist.
Steuergerät für Lenksäulenelektronik -J527- aus- und einbauen (Hersteller Kostal)
Ausbauen:
Vorsicht!
Der Aus- und Einbau einzelner Bauteile des Lenkstockschalters muss in der vorgeschriebenen Reihenfolge erfolgen.
ACHTUNG!
Vorsicht!
Zum Ab- und Anklemmen der Batterie muss die im Reparaturleitfaden beschriebene Vorgehensweise eingehalten werden.
ACHTUNG!
Vor Arbeiten an der elektrischen Anlage und dem Ausbau des Lenkrades müssen folgende Bedingungen erfüllt werden:
Die/der Mechaniker(in) muss sich elektrostatisch entladen. Dieses wird durch das Berühren von geerdeten Metallteilen, wie zum Beispiel Wasserleitungen, Heizungsrohren, Metallträgern oder einer Hebebühne, erreicht.
Wenn dieser Hinweis nicht beachtet wird, kann es zum Ausfall von Steuergeräten im späteren Betrieb kommen!
Wenn Sie diese Hinweise nicht beachten, kann es zum Ausfall des Airbag-Systems im späteren Betrieb kommen!
Vorsicht!
Wenn das Kreuzgelenk vom Lenkgetriebe getrennt ist oder der Lenkwinkelgeber -G85- ausgebaut ist, dürfen folgende Arbeiten nicht durchgeführt werden:
Diese Punkte müssen unbedingt beachtet werden, da dies sonst zu irreparablen Schäden führen kann.
Die folgenden Bauteile der Reihe nach ausbauen:

Hinweis
Die Wickelfeder am Steuergerät für Lenksäulenelektronik -J527- für Lenksäulenelektronik darf beim Ausbau nicht aus der Mittelstellung verdreht werden. Die Vorderräder müssen sich in "Geradeauslaufstellung" befinden.
Einbauen:
Der Einbau erfolgt in umgekehrter Reihenfolge, dabei ist Folgendes zu beachten:
Vorsicht!
Der Rückstellhebel des Blinklichtschalters kann beim Einbau des Steuergeräts abbrechen.
Beim Einbau des Steuergeräts muss der Blinkerhebel in der 0-Stellung stehen, damit der Rückstellhebel nicht ausgefahren ist.
Steuergerät für Lenksäulenelektronik -J527- codieren
Lenkstockkombinationsschalter -E595-
Der Lenkstockkombinationsschalter -E595- besteht ausstattungsabhängig aus folgenden Bauteilen und ist nicht weiter zerlegbar:
Der Aus- und Einbau des Lenkstockkombinationsschalters ist herstellerabhängig unterschiedlich.
Lenkstockkombinationsschalter -E595- aus- und einbauen (Hersteller Valeo)
Vorsicht!
Der Aus- und Einbau einzelner Bauteile des Lenkstockschalters muss in der vorgeschriebenen Reihenfolge erfolgen.
ACHTUNG!
Vor Arbeiten an der elektrischen Anlage und dem Ausbau des Lenkrades müssen folgende Bedingungen erfüllt werden:Die/der Mechaniker(in) muss sich elektrostatisch entladen. Dieses wird durch das Berühren von geerdeten Metallteilen, wie zum Beispiel Wasserleitungen, Heizungsrohren, Metallträgern oder einer Hebebühne, erreicht.
Wenn dieser Hinweis nicht beachtet wird, kann es zum Ausfall von Steuergeräten im späteren Betrieb kommen!Wenn Sie diese Hinweise nicht beachten, kann es zum Ausfall des Airbag-Systems im späteren Betrieb kommen!
Vorsicht!
Wenn das Kreuzgelenk vom Lenkgetriebe getrennt ist oder der Lenkwinkelgeber -G85- ausgebaut ist, dürfen folgende Arbeiten nicht durchgeführt werden:
Diese Punkte müssen unbedingt beachtet werden, da dies sonst zu irreparablen Schäden führen kann.
Ausbauen:

Einbauen:
Lenkstockkombinationsschalter -E595- aus- und einbauen (Hersteller Kostal)
Vorsicht!
Der Aus- und Einbau einzelner Bauteile des Lenkstockschalters muss in der vorgeschriebenen Reihenfolge erfolgen.
ACHTUNG!
Vor Arbeiten an der elektrischen Anlage und dem Ausbau des Lenkrades müssen folgende Bedingungen erfüllt werden:
Die/der Mechaniker(in) muss sich elektrostatisch entladen. Dieses wird durch das Berühren von geerdeten Metallteilen, wie zum Beispiel Wasserleitungen, Heizungsrohren, Metallträgern oder einer Hebebühne, erreicht.
Wenn dieser Hinweis nicht beachtet wird, kann es zum Ausfall von Steuergeräten im späteren Betrieb kommen!
Wenn Sie diese Hinweise nicht beachten, kann es zum Ausfall des Airbag-Systems im späteren Betrieb kommen!
Ausbauen:

Einbauen:
Grundträger für Lenkstockschalter
ACHTUNG!
Vor Arbeiten an der elektrischen Anlage und dem Ausbau des Lenkrades müssen folgende Bedingungen erfüllt werden:Die/der Mechaniker(in) muss sich elektrostatisch entladen. Dieses wird durch das Berühren von geerdeten Metallteilen, wie zum Beispiel Wasserleitungen, Heizungsrohren, Metallträgern oder einer Hebebühne, erreicht.
Wenn dieser Hinweis nicht beachtet wird, kann es zum Ausfall von Steuergeräten im späteren Betrieb kommen!Wenn Sie diese Hinweise nicht beachten, kann es zum Ausfall des Airbag-Systems im späteren Betrieb kommen!
Der Aus- und Einbau des Grundträgers für Lenkstockschalter ist herstellerabhängig unterschiedlich.
Grundträger für Lenkstockschalter aus- und einbauen (Hersteller Valeo)
Vorsicht!
Der Aus- und Einbau einzelner Bauteile des Lenkstockschalters muss in der vorgeschriebenen Reihenfolge erfolgen.
ACHTUNG!
Vor Arbeiten an der elektrischen Anlage und dem Ausbau des Lenkrades müssen folgende Bedingungen erfüllt werden:
Die/der Mechaniker(in) muss sich elektrostatisch entladen. Dieses wird durch das Berühren von geerdeten Metallteilen, wie zum Beispiel Wasserleitungen, Heizungsrohren, Metallträgern oder einer Hebebühne, erreicht.
Wenn dieser Hinweis nicht beachtet wird, kann es zum Ausfall von Steuergeräten im späteren Betrieb kommen!
Wenn Sie diese Hinweise nicht beachten, kann es zum Ausfall des Airbag-Systems im späteren Betrieb kommen!
Benötigte Spezialwerkzeuge, Prüf- und Messgeräte sowie Hilfsmittel

Ausbauen:
Hinweis
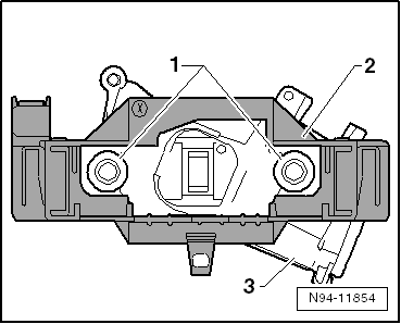
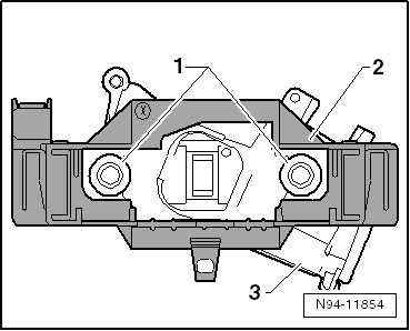
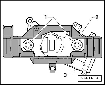
Für den Ausbau des Grundträgers für Lenkstockschalter -2- müssen die Abreißschrauben -1- des Lenkschlossgehäuses ausgebohrt werden. Für den späteren Einbau werden neue Abreißschrauben benötigt → Ersatzteilkatalog (ETKA).

Vorsicht!
Vorsicht!
Zum Ab- und Anklemmen der Batterie muss die im Reparaturleitfaden beschriebene Vorgehensweise eingehalten werden.
Nachdem alle am Grundträger befestigten Bauteile ausgebaut sind, kann der Grundträger ausgebaut werden:

Hinweis
Schrauben M8 -1-, Kernlochdurchmesser 6,8 mm.
Einbauen:

Grundträger für Lenkstockschalter aus- und einbauen (Hersteller Kostal)
Vorsicht!
Der Aus- und Einbau einzelner Bauteile des Lenkstockschalters muss in der vorgeschriebenen Reihenfolge erfolgen.
ACHTUNG!
Vor Arbeiten an der elektrischen Anlage und dem Ausbau des Lenkrades müssen folgende Bedingungen erfüllt werden:
Die/der Mechaniker(in) muss sich elektrostatisch entladen. Dieses wird durch das Berühren von geerdeten Metallteilen, wie zum Beispiel Wasserleitungen, Heizungsrohren, Metallträgern oder einer Hebebühne, erreicht.
Wenn dieser Hinweis nicht beachtet wird, kann es zum Ausfall von Steuergeräten im späteren Betrieb kommen!
Wenn Sie diese Hinweise nicht beachten, kann es zum Ausfall des Airbag-Systems im späteren Betrieb kommen!
Vorsicht!
Wenn das Kreuzgelenk vom Lenkgetriebe getrennt ist oder der Lenkwinkelgeber -G85- ausgebaut ist, dürfen folgende Arbeiten nicht durchgeführt werden:
Diese Punkte müssen unbedingt beachtet werden, da dies sonst zu irreparablen Schäden führen kann.
Benötigte Spezialwerkzeuge, Prüf- und Messgeräte sowie Hilfsmittel

Ausbauen:
Hinweis
Für den Ausbau des Grundträgers für Lenkstockschalter -2- müssen die Abreißschrauben -1- des Lenkschlossgehäuses ausgebohrt werden. Für den späteren Einbau werden neue Abreißschrauben benötigt → Ersatzteilkatalog (ETKA).

Vorsicht!
Vorsicht!
Zum Ab- und Anklemmen der Batterie muss die im Reparaturleitfaden beschriebene Vorgehensweise eingehalten werden.
Nachdem alle am Grundträger befestigten Bauteile ausgebaut sind, kann der Grundträger ausgebaut werden:

Hinweis
Schrauben M8 -1-, Kernlochdurchmesser 6,8 mm.
Einbauen:

Seitenmarkierungsleuchten
Lenkstockschalter, Fahrzeuge mit Zugang und StartberechtigungVolkswagen Tiguan Betriebsanleitung > Praktische Ausstattungen / Ablagen: Ablagefach auf der Beifahrerseite
Abb. 120
In der Instrumententafel: Ablagefach auf der Beifahrerseite.
Abb. 121
In der Instrumententafel: Geöffnetes Ablagefach auf der Beifahrerseite.
Lesen und beachten Sie zuerst die einleitenden
Informationen und Sicherheitshinweise⇒Einleitung
zum Thema Legende für ⇒ Abb. 121 ...