Hinweise zum Entriegeln und Zerlegen von Kontaktgehäusen
Hinweis
Die Zuordnung der richtigen Entriegelungswerkzeuge zu den jeweiligen Verriegelungen können Sie der Tabelle in der → Bedienungsanleitung des VAS 1978/35 entnehmen.
Sekundärverriegelung
Die Sekundärverriegelung ist eine Gehäusesicherung (Zweitverriegelung), die alle Leitungen in einem Kontaktgehäuse sichert. Ist an einem Kontaktgehäuse eine Sekundärverriegelung vorhanden, muss diese immer vor dem Entriegeln und Ausziehen einzelner Crimpkontakte mit dem vorgeschriebenen Werkzeug geöffnet oder entfernt werden.
Die Sekundärverriegelung unterscheidet sich farblich vom Rest des Kontaktgehäuses. Das vereinfacht das Erkennen der Sekundärverriegelung und verdeutlicht deren Funktionsweise.
Die hier dargestellten Formen von Kontaktgehäusen sind nur eine Auswahl, die beispielhaft die unterschiedlichen Funktionsweisen der Sekundärverriegelungen deutlich machen soll.
Beispiel 1:
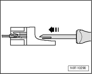
Die Gehäusesicherung wird durch Entfernen eines "Kamms"-Pfeil- entriegelt.

Beispiel 2:
Durch das Öffnen einer "Klappe"-Pfeil- wird die Gehäusesicherung entriegelt.

Beispiel 3:
Die Gehäusesicherung kann durch das Entrasten eines "Schiebers"-Pfeil- entriegelt werden.

Primärverriegelung
Die Primärverriegelung ist die Verrastung eines einzelnen Crimpkontakts im Kontaktgehäuse.
Gegebenenfalls vorhandene Gehäusesicherungen (Sekundärverriegelungen) müssen vor dem Entriegeln der Kontakte mit dem vorgeschriebenen Werkzeug entriegelt oder entfernt werden.
Die folgend dargestellten Formen von Primärverriegelungen sind nur eine Auswahl, die beispielhaft die unterschiedlichen Funktionsweisen der Primärverriegelungen deutlich machen sollen.
Die Zuordnung des richtigen Entriegelungswerkzeugs zur jeweiligen Verriegelung können Sie der Tabelle in der → Bedienungsanleitung des VAS 1978/35 entnehmen.
Rundstecksysteme
Hinweis
Gegebenenfalls vorhandene Gehäusesicherungen (Sekundärverriegelungen) müssen vor dem Entriegeln der Kontakte mit dem vorgeschriebenen Werkzeug entriegelt oder entfernt werden.

Hinweis
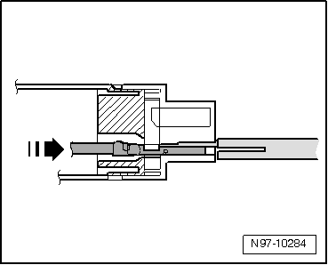
Durch das Drücken des Kontakts in Richtung Kontaktgehäuse werden die Rastzungen des Kontakts von der Gehäuseschulter abgehoben und mit dem Entriegelungswerkzeug entriegelt werden.

Flachstecksysteme
Hinweis
Gegebenenfalls vorhandene Gehäusesicherungen (Sekundärverriegelungen) müssen vor dem Entriegeln der Kontakte mit dem vorgeschriebenen Werkzeug entriegelt oder entfernt werden.
Flachstecksystem mit einer Rastzunge:

Hinweis
Durch das Drücken des Kontakts in Richtung Kontaktgehäuse wird die Rastzunge des Kontakts von der Gehäuseschulter abgehoben und kann mit dem Entriegelungswerkzeug entriegelt werden.

Flachstecksystem mit zwei Rastzungen:

Hinweis
Durch das Drücken des Kontakts in Richtung Kontaktgehäuse werden die Rastzungen des Kontakts von der Gehäuseschulter abgehoben und mit dem Entriegelungswerkzeug entriegelt werden.

Asymmetrisch:

Hinweis
Durch das Drücken des Kontakts in Richtung Kontaktgehäuse werden die Rastzungen des Kontakts von der Gehäuseschulter abgehoben und mit dem Entriegelungswerkzeug entriegelt werden.

Spezielle Stecksysteme
Hinweis
Gegebenenfalls vorhandene Gehäusesicherungen (Sekundärverriegelungen) müssen vor dem Entriegeln der Kontakte mit dem vorgeschriebenen Werkzeug entriegelt oder entfernt werden.
Faston-Kontakte:

Hinweis
Durch das Drücken des Kontakts in Richtung Kontaktgehäuse werden die Rastzungen des Kontakts von der Gehäuseschulter abgehoben und mit dem Entriegelungswerkzeug entriegelt werden.

GT 150/280 Kontakte:

Der Kontakt wird aus dem Kontaktgehäuse ausgeworfen.

Kontakte ohne Rastzungen:

Der Kontakt wird aus dem Kontaktgehäuse ausgeworfen.

 Reparatur von Kontaktgehäusen und Steckverbindungen
Reparatur von Kontaktgehäusen und Steckverbindungen Reparaturkoffer -VAS 6410-
Reparaturkoffer -VAS 6410-Volkswagen Tiguan Reparaturanleitung > Füller: 2K-HS-Performance-Füller
   Benennung:
	2K-HS-Performance-Füller -LVM 014 100 A4-, Farbe weiß
	2K-HS-Performance-Füller -LVM 014 173 A4-, Farbe dunkelgrau
	2K-HS-Performance-Füller -LVM 014 190 A4-, Farbe anthrazit
Ausgabe 07.2013
Produktbeschreibung
Die 2K-HS-Performance-Füller sind sehr hochwertige 2K-HS-Schle ...