Ventil aus- und einbauen, Erklärungen zum Ventil
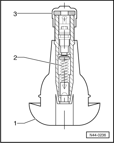
1. Ventilkörper
Das Gummiventil für schlauchlose Reifen ist so ausgebildet, dass es in der Felgenbohrung luftdicht abschließt. Das elastische Material des Gummikörpers presst sich fest in die Bohrung der Felge ein.
Bei eingeschraubten Metallfußventilen übernimmt eine Gummidichtung die Abdichtung zur Felge. Die Randflächen der Ventilbohrung sind Dichtzonen. Diese müssen deshalb frei von Rost, Schmutz und Beschädigungen sein.
2. Ventileinsatz
Die wichtigste Aufgabe im Ventil hat der Ventileinsatz. Er dichtet ab und ermöglicht das Regulieren des Luftdrucks. Die kleine Tellerdichtung am Ventileinsatz kann Ihre Aufgabe nur dann erfüllen, wenn sie frei von Verunreinigungen, Schmutz und Feuchtigkeit ist. Luftfüllanlagen müssen frei von Wasser und Öl sein!
3. Ventilkappe
Auf den Ventilen muss immer eine Ventilkappe aufgeschraubt sein. Sie verhindert, dass Schmutz in das Ventil eindringt. Eventuell im Ventil befindlicher Schmutz würde beim Aufpumpen des Reifens auf die Dichtung des Ventiltellers gelangen und Undichtigkeiten verursachen.

Bei jeder Neumontage eines Reifens muss das Ventil ersetzt werden.
Bei Betrieb des Fahrzeuges mit Ventilen ohne Ventilkappen besteht die Gefahr, dass Schmutz eindringt. Dies führt zu schleichendem Luftverlust und kann damit zur Zerstörung des Reifens führen:
ACHTUNG!
Nur mit festsitzender Ventilkappe ist ein luftdichter Verschluss gewährleistet.
Ventil aus- und einbauen, Gummiventil
- Darauf achten, dass die Felge gereinigt ist.

Ventil aus- und einbauen, Metallventil
Benötigte Spezialwerkzeuge, Prüf- und Messgeräte sowie Hilfsmittel

Führen Sie folgende Arbeiten durch:
Ausbauen

Einbauen
Vorsicht!
Mutter für das Metallventil nur mit dem angegebenen Anzugsdrehmoment festziehen. Ein Nachziehen ist nicht zulässig, da dadurch die Dichtung beschädigt wird.

Anzugsdrehmomente
Zierelemente ersetzen
Notlaufsystem PAXVolkswagen Tiguan Betriebsanleitung > Zubehör, Teileersatz, Reparaturen und Änderungen: Aufnahmepunkte zum Anheben des Fahrzeugs
Abb. 214
Aufnahmepunkte vorn zum Anheben mit der Hebebühne oder dem Wagenheber.
Abb. 215
Aufnahmepunkte hinten zum Anheben mit der Hebebühne oder dem Wagenheber.
Lesen und beachten Sie zuerst die einleitenden
Informationen und Sicherheitshinweise⇒Einleitung
zum Thema Das Fahrzeug dar ...