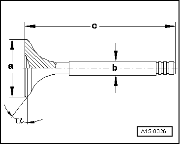
Ventilmaße
Hinweis
Ein- und Auslassventile dürfen nicht nachgearbeitet werden. Nur das Einschleifen ist zulässig.
| Maß | Einlassventil | Auslassventil | |
| Ø a | mm | 28,10 | 26,00 | 
| Ø b | mm | 5,975 | 5,965 | 
| c | mm | 99,30 | 99,10 | 
| α | ∠º | 45 | 45 | 

Ventilsitze nacharbeiten
Hinweis
Die Ventilsitze dürfen wegen der engen Toleranzen nicht nachgearbeitet werden.
Ventilführungen prüfen
Benötigte Spezialwerkzeuge, Prüf- und Messgeräte sowie Hilfsmittel


Arbeitsablauf
Hinweis
- Wenn das Ventil im Rahmen einer Reparatur ersetzt wird, zur Messung neues Ventil verwenden.
- Wegen der unterschiedlichen Schaftdurchmesser darf nur ein Einlassventil in der Einlassführung und ein Auslassventil in der Auslassführung verwendet werden.
- Das Ventilschaftende muss mit der Führung abschließen.
- Verschleißgrenze: 1,0 mm.

Hinweis
Die Ventilführungen können nicht gewechselt werden.
Ventile prüfen
 Ventiltrieb
Ventiltrieb Motor-Schmierung
Motor-SchmierungVolkswagen Tiguan Reparaturanleitung > Allgemeines zum Kältemittelkreislauf: Aufbau des Kältemittelkreislaufes
   Kältemittelkreislauf mit Expansionsventil und einem Verdampfer
	Verdampfer
	Expansionsventil
	Ventil zum Absaugen, füllen und messen
	Flüssigkeitsbehälter mit Trocknerbeutel / Trocknerpatrone
	Kondensator
	Klimakompressor
Hinweis
Pfeile zeigen Fließrichtung des Kältemittels.
Kä ...